Android源码阅读系列之-线程池[转]
#线程池概念
线程池: 简单理解,它就是一个管理线程的池子。
#带着问题看文章
问题1:Java的线程池说一下,各个参数的作用,如何进行的?
问题2:按线程池内部机制,当提交新任务时,有哪些异常要考虑。
问题3:线程池都有哪几种工作队列?
问题4:使用无界队列的线程池会导致内存飙升吗?
问题5:说说几种常见的线程池及使用场景?
#线程池的优点
·它帮我们管理线程,避免增加创建线程和销毁线程的资源损耗:
因为线程其实也是一个对象,创建一个对象,需要经过类加载过程,销毁一个对象,需要走GC垃圾回收流程,都是需要资源开销的。
·提高响应速度:
如果任务到达了,相对于从线程池拿线程,重新去创建一条线程执行,速度肯定慢很多。
·重复利用:
线程用完,再放回池子,可以达到重复利用的效果,节省资源。
#线程池的创建
线程池可以通过ThreadPoolExecutor来创建,我们来看一下它的构造函数:
public ThreadPoolExecutor(int corePoolSize, int maximumPoolSize,long keepAliveTime,TimeUnit unit,
BlockingQueue<Runnable> workQueue,
ThreadFactory threadFactory,
RejectedExecutionHandler handler)
corePoolSize: 线程池核心线程数最大值
maximumPoolSize: 线程池最大线程数大小
keepAliveTime: 线程池中非核心线程空闲的存活时间大小
unit: 线程空闲存活时间单位
workQueue: 存放任务的阻塞队列
threadFactory: 用于设置创建线程的工厂,可以给创建的线程设置有意义的名字,可方便排查问题。
handler: 线城池的饱和策略事件,主要有四种类型。
#任务执行
线程池执行流程,即对应execute()方法:

·提交一个任务,线程池里存活的核心线程数小于线程数corePoolSize时,线程池会创建一个核心线程去处理提交的任务。
·如果线程池核心线程数已满,即线程数已经等于corePoolSize,一个新提交的任务,会被放进任务队列workQueue排队等待执行。
·当线程池里面存活的线程数已经等于corePoolSize了,并且任务队列workQueue也满,判断线程数是否达·到maximumPoolSize,即最大线程数是否已满,如果没到达,创建一个非核心线程执行提交的任务。
·如果当前的线程数达到了maximumPoolSize,还有新的任务过来的话,直接采用拒绝策略处理。
#四种拒绝策略
·AbortPolicy(抛出一个异常,默认的)
·DiscardPolicy(直接丢弃任务)
·DiscardOldestPolicy(丢弃队列里最老的任务,将当前这个任务继续提交给线程池)
·CallerRunsPolicy(交给线程池调用所在的线程进行处理)
#为了形象描述线程池执行,我打个比喻:
·核心线程比作公司正式员工
·非核心线程比作外包员工
·阻塞队列比作需求池
·提交任务比作提需求

·当产品提个需求,正式员工(核心线程)先接需求(执行任务)
·如果正式员工都有需求在做,(即核心线程数已满),产品就把需求先放需求池(阻塞队列)。
·如果需求池(阻塞队列)也满了,但是这时候产品继续提需求,怎么办呢?那就请外包(非核心线程)来做。
·如果所有员工(最大线程数也满了)都有需求在做了,那就执行拒绝策略。
·如果外包员工把需求做完了,它经过一段(keepAliveTime)空闲时间,就离开公司了。
##问题1 Java的线程池说一下,各个参数的作用,如何进行的?
答案:线程池构造函数的corePoolSize,maximumPoolSize等参数,并且能描述清楚线程池的执行流程
#线程池异常处理
在使用线程池处理任务的时候,任务代码可能抛出RuntimeException,抛出异常后,线程池可能捕获它,也可能创建一个新的线程来代替异常的线程,我们可能无法感知任务出现了异常,因此我们需要考虑线程池异常情况。
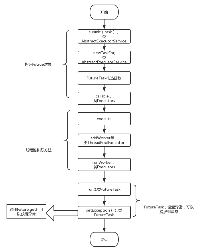
#线程池exec.submit(runnable)的执行流程
通过debug上面有异常的submit方法(建议大家也去debug看一下,图上的每个方法内部是我打断点的地方),处理有异常submit方法的主要执行流程图:

#线程池的工作队列
##线程池都有哪几种工作队列?
·ArrayBlockingQueue:(有界队列)是一个用数组实现的有界阻塞队列,按FIFO排序量。
·LinkedBlockingQueue:(可设置容量队列)基于链表结构的阻塞队列,按FIFO排序任务,容量可以选择进行设置,不设置的话,将是一个无边界的阻塞队列,最大长度为Integer.MAX_VALUE,吞吐量通常要高于ArrayBlockingQuene;newFixedThreadPool线程池使用了这个队列
·DelayQueue:是一个任务定时周期的延迟执行的队列。根据指定的执行时间从小到大排序,否则根据插入到队列的先后排序。newScheduledThreadPool线程池使用了这个队列。
·PriorityBlockingQueue:(优先级队列)是具有优先级的无界阻塞队列;
·SynchronousQueue:(同步队列)一个不存储元素的阻塞队列,每个插入操作必须等到另一个线程调用移除操作,否则插入操作一直处于阻塞状态,吞吐量通常要高于LinkedBlockingQuene,
·newCachedThreadPool线程池使用了这个队列。
#几种常用的线程池
##newFixedThreadPool (固定数目线程的线程池)
##newCachedThreadPool(可缓存线程的线程池)
##newSingleThreadExecutor(单线程的线程池)
##newScheduledThreadPool(定时及周期执行的线程池)
##newFixedThreadPool
FixedThreadPool 适用于处理CPU密集型的任务,确保CPU在长期被工作线程使用的情况下,尽可能的少的分配线程,即适用执行长期的任务。
public static ExecutorService newFixedThreadPool(int nThreads, ThreadFactory threadFactory) {
return new ThreadPoolExecutor(nThreads, nThreads,
0L, TimeUnit.MILLISECONDS,
new LinkedBlockingQueue<Runnable>(),
threadFactory);
}
###线程池特点:
核心线程数和最大线程数大小一样
没有所谓的非空闲时间,即keepAliveTime为0
阻塞队列为无界队列LinkedBlockingQueue
####工作机制:

####提交任务
如果线程数少于核心线程,创建核心线程执行任务
如果线程数等于核心线程,把任务添加到LinkedBlockingQueue阻塞队列
如果线程执行完任务,去阻塞队列取任务,继续执行。
####实例代码
ExecutorService executor = Executors.newFixedThreadPool(10);
for (int i = 0; i < Integer.MAX_VALUE; i++) {
executor.execute(()->{
try {
Thread.sleep(10000);
} catch (InterruptedException e) {
//do nothing
}
});
####使用场景
FixedThreadPool 适用于处理CPU密集型的任务,确保CPU在长期被工作线程使用的情况下,尽可能的少的分配线程,即适用执行长期的任务。
###newCachedThreadPool
public static ExecutorService newCachedThreadPool(ThreadFactory threadFactory) {
return new ThreadPoolExecutor(0, Integer.MAX_VALUE,
60L, TimeUnit.SECONDS,
new SynchronousQueue
threadFactory);
}
####线程池特点:
核心线程数为0
最大线程数为Integer.MAX_VALUE
阻塞队列是SynchronousQueue
非核心线程空闲存活时间为60秒
当提交任务的速度大于处理任务的速度时,每次提交一个任务,就必然会创建一个线程。极端情况下会创建过多的线程,耗尽 CPU 和内存资源。由于空闲 60 秒的线程会被终止,长时间保持空闲的 CachedThreadPool 不会占用任何资源。
工作机制

####提交任务
因为没有核心线程,所以任务直接加到SynchronousQueue队列。
判断是否有空闲线程,如果有,就去取出任务执行。
如果没有空闲线程,就新建一个线程执行。
执行完任务的线程,还可以存活60秒,如果在这期间,接到任务,可以继续活下去;否则,被销毁。
####实例代码
ExecutorService executor = Executors.newCachedThreadPool();
for (int i = 0; i < 5; i++) {
executor.execute(() -> {
System.out.println(Thread.currentThread().getName()+"正在执行");
});
}
####使用场景
用于并发执行大量短期的小任务。
###newSingleThreadExecutor
public static ExecutorService newSingleThreadExecutor(ThreadFactory threadFactory) {
return new FinalizableDelegatedExecutorService
(new ThreadPoolExecutor(1, 1,
0L, TimeUnit.MILLISECONDS,
new LinkedBlockingQueue
threadFactory));
}
####线程池特点
核心线程数为1
最大线程数也为1
阻塞队列是LinkedBlockingQueue
keepAliveTime为0
####工作机制
####提交任务
线程池是否有一条线程在,如果没有,新建线程执行任务
如果有,讲任务加到阻塞队列
当前的唯一线程,从队列取任务,执行完一个,再继续取,一个人(一条线程)夜以继日地干活。
####实例代码
ExecutorService executor = Executors.newSingleThreadExecutor();
for (int i = 0; i < 5; i++) {
executor.execute(() -> {
System.out.println(Thread.currentThread().getName()+"正在执行");
});
}
####使用场景
适用于串行执行任务的场景,一个任务一个任务地执行。
###newScheduledThreadPool
public ScheduledThreadPoolExecutor(int corePoolSize) {
super(corePoolSize, Integer.MAX_VALUE, 0, NANOSECONDS,
new DelayedWorkQueue());
}
####线程池特点
最大线程数为Integer.MAX_VALUE
阻塞队列是DelayedWorkQueue
keepAliveTime为0
scheduleAtFixedRate() :按某种速率周期执行
scheduleWithFixedDelay():在某个延迟后执行
####工作机制
添加一个任务
线程池中的线程从 DelayQueue 中取任务
线程从 DelayQueue 中获取 time 大于等于当前时间的task
执行完后修改这个 task 的 time 为下次被执行的时间
这个 task 放回DelayQueue队列中
####实例代码
/**
创建一个给定初始延迟的间隔性的任务,之后的下次执行时间是上一次任务从执行到结束所需要的时间+* 给定的间隔时间
*/
ScheduledExecutorService scheduledExecutorService = Executors.newScheduledThreadPool(1);
scheduledExecutorService.scheduleWithFixedDelay(()->{
System.out.println("current Time" + System.currentTimeMillis());
System.out.println(Thread.currentThread().getName()+"正在执行");
}, 1, 3, TimeUnit.SECONDS);
####运行结果:
/**
创建一个给定初始延迟的间隔性的任务,之后的每次任务执行时间为 初始延迟 + N * delay(间隔)
*/
ScheduledExecutorService scheduledExecutorService = Executors.newScheduledThreadPool(1);
scheduledExecutorService.scheduleAtFixedRate(()->{
System.out.println("current Time" + System.currentTimeMillis());
System.out.println(Thread.currentThread().getName()+"正在执行");
}, 1, 3, TimeUnit.SECONDS);;
####使用场景
周期性执行任务的场景,需要限制线程数量的场景
##线程池状态
线程池有这几个状态:RUNNING,SHUTDOWN,STOP,TIDYING,TERMINATED。
//线程池状态
private static final int RUNNING = -1 << COUNT_BITS;
private static final int SHUTDOWN = 0 << COUNT_BITS;
private static final int STOP = 1 << COUNT_BITS;
private static final int TIDYING = 2 << COUNT_BITS;
private static final int TERMINATED = 3 << COUNT_BITS;
复制代码线程池各个状态切换图:

###RUNNING
该状态的线程池会接收新任务,并处理阻塞队列中的任务;
调用线程池的shutdown()方法,可以切换到SHUTDOWN状态;
调用线程池的shutdownNow()方法,可以切换到STOP状态;
###SHUTDOWN
该状态的线程池不会接收新任务,但会处理阻塞队列中的任务;
队列为空,并且线程池中执行的任务也为空,进入TIDYING状态;
###STOP
该状态的线程不会接收新任务,也不会处理阻塞队列中的任务,而且会中断正在运行的任务;
线程池中执行的任务为空,进入TIDYING状态;
###TIDYING
该状态表明所有的任务已经运行终止,记录的任务数量为0。
terminated()执行完毕,进入TERMINATED状态
###TERMINATED
该状态表示线程池彻底终止
作者:Jay_huaxiao
链接:https://juejin.im/post/5d1882b1f265da1ba84aa676